LC/LP - Клапаны обратные управляемые (логические элементы)
Характеристики
Артикул
LC*, LP*, LCM*
Типоразмеры
DN16 - DN63
Рабочее давление
420 бар
Расход
до 3000 л/мин
Температура эксплуатации
-20°C...+80°C
Дополнительно
Патронно-стыковой монтаж
Гарантия
2 года
Подробное описание
Логические элементы представляют собой встраиваемые клапаны, предназначенные для установки в блоках или плитах. Они могут поставляться в шести различных размерах: LC16, LC25, LC32, LC40, LC50, LC63Предназначены для создания сложных гидравлических контуров с использованием функциональных компактных блоков при высоких значениях расхода и низкими падениями давления.
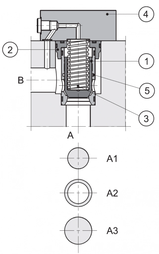
Состоят из встраиваемого клапана с посадочным местом по ISO 7368/DIN 24342 и крышкой. Крышка включает в себя линии управления встраиваемыми клапанами; некоторые версии предназначены для установки клапанов СЕТОР 3 для реализации различных функций управления.
Для номинальных размеров 25, 32, 40, 50, и 63 доступна версия, обеспечивающая уменьшение утечек путем установки уплотнительного кольца в седло номер 5.
Встраиваемые клапаны состоят из гильзы, собственно клапана и прижимной пружины. Клапан может быть либо стандартным (S), либо с виброгасящим наконечником (D), пригодным для плавного управления потоком во время фаз открытия и закрытия клапана.
Существует два различных вида встраиваемых клапанов:
1. Тип Q: этот клапан используется для управления расходом и направлением, а также в качестве обратного клапана.Используемые площади:
- А1 - соответствует площади диаметра седла считающейся условной площадью = 1
- А3 - соответствует площади внутреннего диаметра гильзы
- А2 - соответствует разнице между А3-А1
Клапан открывается когда давление, воздействующее либо на площадь А1 (поток от А к В) или на площадь А2 (поток от В к А), превышает давление, воздействующее на площадь А3 (добавленное к значению напряжения пружины).
2. Тип Р: этот клапан используется для управления давлением.В этом случае площади А1 и А3 равны (отношение площадей составляет 1:1) и клапан только обеспечивает движение потока от А к В.
Код для заказа встраиваемых клапанов
| 1 | 2 | - | 3 | 4 | / | 5 | 6 |
|---|---|---|---|---|---|---|---|
| LC | 16 | QD | 0.5 | 20 | N |
| 1 | Встраиваемый клапан | |
| 2 | Типоразмер |
16 = ND16 25 = ND25 32 = ND32 40 = ND40 50 = ND50 63 = ND63 |
| 3 | Тип клапана |
QS = отношение площадей (A1/A3) = 1 : 1,66 (управление расходом) QD = отношение площадей (A1/A3) = 1 : 1,66 (управление расходом с виброгасящим наконечником) PS = отношение площадей (A1/A3) = 1 : 1 (управление давлением) |
| 4 | Номинальное давление срабатывания |
Номинальное давление срабатывания на участке A1: Проверьте наличие версии в таблице ниже* Другие значения давления доступны по запросу 0,5 = 0,5 бар 1 = 1 бар 2 = 2 бара 4 = 4 бара |
| 5 | Номер серии |
20 = для ND 16, 25, 32, 40 и 50 21 = для ND 63 Габаритные и монтажные размеры остаются неизменными для серий от 20 до 29 |
| 6 | Уплотнения | N = уплотнения NBR для минеральных масел |
| 7 | Опция |
LL = версия с низким уровнем утечек, с уплотнением между C и B Недоступно для QS0.5 и LC16-PS* Пропустить, если не требуется |
* Доступные номинальные размеры
|
16 ND16 |
25 ND25 |
32 ND32 |
40 ND40 |
50 ND50 |
63 ND63 |
версии | символ |
| х | х | х | х | х | QS0,5 |
|
|
| х | х | х | х | х | х | QS2 | |
| х | х | х | х | х |
|
QD4 |
|
| х | PS1 |
|
|||||
| х | х | х | х | х |
|
PS2 |
Пример кода для заказа:
LC16-QD0.5/20N - Клапан обратный картриджного типа, давление открытия 0,5 бар, рабочее давление 350 Бар, расход 200 л/мин, отношение площадей (A1/A3) = 1 : 1,66 (управление расходом с виброгасящим наконечником)Код для заказа крышек встраиваемых клапанов
| 1 | 2 | 3 | / | 4 | 5 |
|---|---|---|---|---|---|
| LP | 16 | R | 20 | N |
| 1 | Крышка для встраиваемого двухлинейного клапана типа LC | |
| 2 | Типоразмер |
16 = ND16 25 = ND25 32 = ND32 40 = ND40 50 = ND50 63 = ND63 |
| 3 | Тип крышки |
R = с внешним пилотным управлением, реализующая функцию обратного клапана и управления потоком D = с функцией обратного клапана и управления потоком DZ = с функцией управления потоком и возможностью управления другими клапанами DF1 = с функцией обратного клапана и управления потоком, клапаном «ИЛИ» с 2-мя линиями пилотного управления DF2 = с функцией обратного клапана и управления потоком, клапаном «ИЛИ» с приоритетным управлением по 2-м линиям пилотного управления Q = с функцией управления потоком DP* = с функцией управления по давлению DPE* = с функцией управления по давлению |
| 4 | Номер серии |
21 = крышки DP* и DPE*, ND 16, 25 и 32 20 = все остальное Габаритные и монтажные размеры остаются неизменными от 20 до 29 |
| 5 | Уплотнения | N = уплотнения NBR для минеральных масел |
Пример кода для заказа:
LP16-R/20N - Крышка к картриджному клапану, Ду16
Код для заказа контролируемых встраиваемых элементов
| 1 | 2 | 3 | - | 4 | 5 | 6 | / | 7 | 8 |
|---|---|---|---|---|---|---|---|---|---|
| LCM | 16 | D | Q | D | 4 | 20 | N |
| 1 | Логический элемент (клапан и крышка) с закрытым контуром электрической обратной связи | |
| 2 | Типоразмер |
16 = ND 16 25 = ND 25 32 = ND 32 40 = ND 40 50 = ND 50 |
| 3 | Функции крышки |
D = регулирование потока и функция обратного клапана Z = регулирование потока и пилотное управление другими клапанами Q = регулирование расхода (недоступно лоя ND 32 и ND 40) |
| 4 | Отношение площадей встраиваемого клапана | Q = (A1/A3) = 1 : 1,66 |
| 5 | Вариант исполнения | D = версия с виброгасящим наконечником |
| 6 | Давление срабатывания | 4 = 4 бара |
| 7 | Номер серии | Габаритные и монтажные размеры остаются неизменными для серий от 20 до 29 |
| 8 | Уплотнения |
N = уплотнения NBR для минеральных масел |
| 9 | Опция |
LL = версия с низким уровнем утечек, с уплотнением между C и B Пропустить, если не требуется |
Пример кода для заказа:
LCM16D-QD4/21N - Клапан обратный, катриджный CETOP 03, Ду=16мм, индуктивный датчик (контакты замкнуты при закрытом клапане)Скачать 2D и 3D модели товара «Встраиваемые элементы (логические элементы) LC*, LP*» Вы можете по кнопке «CAD-модель» выше.
Если Вы не нашли нужный формат 3D или 2D модели, вы можете воспользоваться on-line конфигуратором моделей компаний Duplomatic MS и Pneumax S.P.A. перейдя по ссылке - «Справочные материалы. 3D-Библиотека».
Доставка и оплата
Срок поставки определяется наличием на складе и регионом нахождения покупателя. При комплексной поставке оборудования возможна оплата с отсрочкой платежа.
Способ монтажа
-
Производитель
DUPLOMATIC MS S.p.a.
Давление открытия, бар
0,5
Способ монтажа
Встраиваемый
Производитель
DUPLOMATIC MS S.p.a.
Давление открытия, бар
0,5
Способ монтажа
Встраиваемый
Производитель
DUPLOMATIC MS S.p.a.
Давление открытия, бар
0,5
Способ монтажа
Встраиваемый
Производитель
DUPLOMATIC MS S.p.a.
Давление открытия, бар
2
Способ монтажа
Встраиваемый
Производитель
DUPLOMATIC MS S.p.a.
Способ монтажа
-
Производитель
DUPLOMATIC MS S.p.a.
Давление открытия, бар
2
Способ монтажа
Встраиваемый
Производитель
DUPLOMATIC MS S.p.a.
Производитель
DUPLOMATIC MS S.p.a.
Способ монтажа
-
Производитель
DUPLOMATIC MS S.p.a.
Способ монтажа
-
Производитель
DUPLOMATIC MS S.p.a.
Способ монтажа
-
Производитель
DUPLOMATIC MS S.p.a.
Способ монтажа
-
Производитель
DUPLOMATIC MS S.p.a.
Способ монтажа
-
Производитель
DUPLOMATIC MS S.p.a.
Способ монтажа
-
Производитель
DUPLOMATIC MS S.p.a.
Способ монтажа
-
Производитель
DUPLOMATIC MS S.p.a.
Способ монтажа
-
Производитель
DUPLOMATIC MS S.p.a.
Способ монтажа
-
Производитель
DUPLOMATIC MS S.p.a.
Давление открытия, бар
0,5
Способ монтажа
Встраиваемый
Производитель
DUPLOMATIC MS S.p.a.






















